柔性屏幕是折叠手机发展的最大关键,尽管苹果至今尚未推出折叠手机,也被外传不太有兴趣,但并不代表没在进行研发,因此苹果还是有相关专利一直出现。
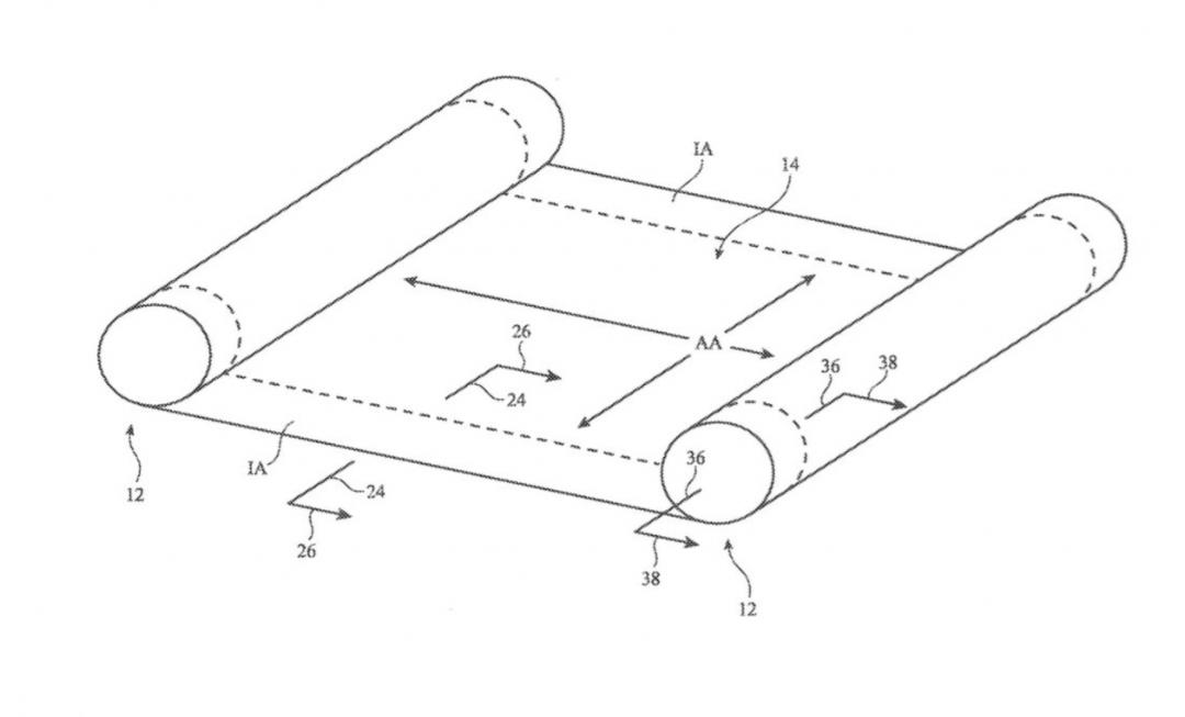
近日美国商标和专利局公布的清单显示,苹果获得了一项名为带有柔性屏幕结构的电子设备专利,可以像画卷一样卷起来和展开。 不只如此,早在本月中旬,苹果其实也通过另一项卷轴专利,让iPhone得以实现缩小和展开。

苹果新专利,让柔性屏幕宛如画卷。 (图/翻摄网络)

苹果卷轴新专利,或许让 iPhone 可缩小尺寸。 (图/翻摄网络)
对比折叠手机,卷轴手机可说是更进一步的发展,让屏幕能自动延伸及缩短,不少安卓手机早已投入研发,像是三星先前已在科技大展展示过类似概念机。
虽然专利不代表苹果一定会将其产品化和量产,但还是能期待苹果为 iPhone 带来创新应用,或许跳过折叠 iPhone,直接给果粉带来卷轴 iPhone的惊喜也说不定。